|

 |
Тест-комплект Dräger DrugTest 5000 STK IVD (Test-Kits)
|
| |
Склад ТЕСТ-КОМПЛЕКТУ |
|
 |
 |
|
| |
|
|
|
|
|
|
|
|
|
|
-
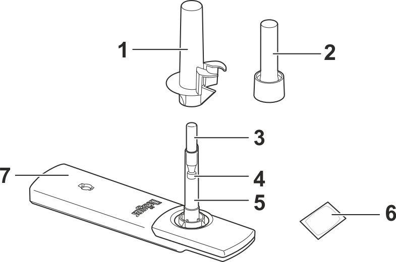
Кожна упаковка виробів містить:
комплекти Dräger DrugTest 5000 STK, кожен в окремому герметично закритому поліетиленовому пакеті. Точну кількість комплектів зазначено на упаковці.
Кожен поліетиленовий пакет містить вологопоглинаючий мішок Dräger DrugTest 5000 STK, до складу якого входить:
a. тест-касета з вбудованим колектором
b. захисна кришка з картриджем пробопідготовки
-
Настанова з експлуатації
Відповідає DIN EN ISO 13485:2016 / EN ISO 13485:2016, DIN EN ISO 11469:2000, DIN EN 13612:2002, DIN EN ISO 14971:2013, DIN EN ISO 15223-1:2013, DIN EN ISO 18113-1:2013, DIN EN ISO 18113-3:2013, DIN EN 60529:2000, DIN EN 61010-1:2011, DIN EN 61010-2-101:2003, DIN EN 61326-1:2013, DIN EN 61326-2-6:2013, DIN EN 62304:2007/AC:2009, DIN EN 62366:2008, Declaration 98/79/EC.
Відповідає вимогам Технічного регламенту щодо медичних виробів для діагностики in vitro, що затверджений Постановою Кабінету Міністрів України №754 від 02.10.2013.
Тест-комплект Dräger DrugTest 5000 STK IVD (Test-Kits) використовується у складі системи тестування разом з аналізатором наркотичних засобів і психотропних речовин в рідині порожнини рота. Dräger DrugTest 5000 Analyzer IVD призначений для одночасного виявлення в рідині порожнини рота (слині) людини наркотичних засобів, психотропних речовин наступних груп: опіати, каннабіноїди, кокаїн, амфетамін, метамфетамін, бензодіазепіни в цілях якісної діагностики (in vitro). За допомогою тест-комплекту Dräger DrugTest 5000 STK IVD (Test-Kits) здійснюється проста неінвазивна та гігієнічна процедура відбору проби слини, його конструкція забезпечує контроль відбору необхідного обсягу проби слини, а також взаємодюя між пробою слини і реагентами, нанесеними на тест-смужки, розташованими всередині тестової касети з тест-комплекту Dräger DrugTest 5000 STK IVD (Test-Kits).
Розміри (ШxВxГ): 150x38x80 мм. Вага: 45 г. Зберігання/транспортування: від +4 до +30 °C.
Система Dräger DrugTest® 5000 у залежності від конфігурації Dräger DrugTest® 5000 STK IVD дозволяє виявляти до восьми класів наркотичних засобів і психотропних речовин у рідині ротової порожнини із заздалегідь визначеними межами виявлення:
|
Позначення
|
Наркотик (речовина)
|
Гранично-виявлена
концентрація (нг / мл)
|
|
AMP
|
Амфетамін (D-Амфетамін)
|
50
|
|
BZO
|
Бензодіазепін (Діазепам)
|
15
|
|
COC
|
Кокаїн (Кокаїн)
|
20
|
|
MET
|
Метамфетаміни (D-метамфетамін)
|
35
|
|
MTD
|
Метадон (Метадон)
|
20
|
|
KET
|
Кетамін (Кетамін)
|
300
|
|
OPI
|
Опіати (Морфін)
|
20
|
|
THC
|
Тетрагідроканнабінол (Δ9-THC)
|
5
|
Можливі наступні специфікації замовлення:
Навчальний тест-комплект Dräger DrugTest® 5000 STK IVD (Test Kits),
Dräger DrugTest® 5000 STK 5 IVD (Test-Kits) COC-OPI-THC-AMP-MET,
Dräger DrugTest® 5000 STK 6 IVD (Test-Kits) COC-OPI-BZO-THC-AMP-MET,
Dräger DrugTest® 5000 STK 7 IVD (Test-Kits) COC-OPI-BZO-THC-AMP-MET-MTD,
Dräger DrugTest® 5000 STK 8 IVD (Test-Kits) COC-OPI-BZO-THC-AMP-MET-MTD-KET.
Тест-комплекти упаковані по 20 штук.
Приладдя:
Пристрій для збору проб рідині ротової порожнини Drager DCD 5000,
Пробовідбірник для поверхонь Dräger SSK 5000 Test Kit.
В НАЯВНОСТІ !

Наркотики та безкарність: чому в Україні побільшало смертельних ДТП?
В Україні рекордна кількість ДТП з постраждалими і вбитими. Одні з найімовірніших причин зростання – епідемія наркотичного сп’яніння і відсутність невідворотності покарання.
Ситуація на дорогах країни погіршується. "За 2024 рік зареєстровано 25 781 ДТП з потерпілими, у яких загинули 3 202 особи та 32 023 людини отримали травми", – повідомив перший заступник начальника Департаменту патрульної поліції Олексій Білошицький.
|